护理科研与创新
【医学创新】可伸缩自动TPN溶药装置——普外三病房石馥嘉创新发明的故事
背景:
目前,各大医院中的重症患者及大大小小的手术日益增多,随之而来的是对营养液的需求量也越来越大,由于一些重症或术后等无法主动进食的患者,只能靠输入营养液来维持体内的营养需求。现在临床一般采用的是肠外营养支持,又称TPN,是经静脉途径供应病人所需要的营养要素,包括热量(碳水化合物、脂肪乳剂)、必需和非必需氨基酸、维生素、电解质及微量元素等,由于营养要素的种类较多,因此需要在向患者体内输入前进行各类营养要素的溶合。现在的溶合方式基本是靠医护人员手动摇匀进行溶合的,但由于各类营养要素溶合后,重量较大,一般可达5-10斤重,因此,采用手动摇匀溶合的方式不但费时、费力,而且不能保证各类营养要素溶合的均匀度,因此,现有的手动溶合方式存在较多问题,并有很大的提升和完善空间。
创新点:
为解决上诉问题,bwin唯一官方网站必应设计了一种可伸缩自动TPN溶药装置,并已申请获得了国家专利。
该溶药装置有效解决了多种药液悬挂的问题,降低了因加药、更换药液时牵拉造成连接管脱落导致感染的发生率,自动溶药更好地将药液完全溶解,减少了护理工作强度,降低了护士职业负损伤的风险。伸缩固定架还可以调节高度,便于不同身高护士操作,加药后可以折叠,便于收藏,节省空间。
应用:
建议在WIFI下观看
1.连接电源,将折叠的伸缩固定杆展开并锁定固定扣。
2.将伸缩固定杆上拉到合适位置,顺时针旋转固定杆固定。
3.液体核对无误后挂在液体悬挂钩上。4.将TPN袋放入置袋板并挂于固定扣上。
5.连接药液,进行加药并按开溶药开关,顺时针旋转调节钮调节合适的速度使药液放置板摆动,达到溶药目的。
6.加药完毕后,撤下药液袋及连接管,将速度调节钮及溶药开关关闭并拔除电源,收回伸缩固定架,打开固定扣,折叠伸缩固定杆,节约空间利于收藏。
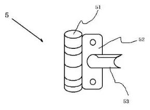
附图说明:

附图1是本实用新型所提出的一种用于溶合TPN药液的装置的一个实施例的整体外观结构示意图;

附图2是附图1中固定架的架构示意图;

附图3是附图1中连接件及支撑组件的结构示意图;

附图4是附图1中夹持组件的结构示意图;

附图5是附图1中板形件的结构示意图。








